Poumondeau
Georges Hérail was born in April 27, 1925 in Sérignan (Hérault), France.

He has studied at “Ecole Pratique” in Beziers. In this school acquired his three C.A.P. (certifi cat d’aptitude professionnelle), one as a toolmaker, one as a mecanical electrician and one as an aircraft mechanic. He finished his technical training with the diploma for Industrial Education Certificate (brevet d’enseignement industriel – BEI).
Georges began his professional career in 1945 as an industrial desiger at a glider manufacturer at Castelnaudary.From 1946 to 1954, he worked for “SUD-AVIATION” in Blagnac. This early career has brought a good knowledge of the aeronautical field and allowed to appreciate the very careful production quality of the productions in this area.
Georges was passionate about diving. He was a member of the Toulouse Sub-Aquatic Club and began to study operating principles of breathing apparatus used in diving.
In 29.01.1953, he filed a first Patent No. 1,073,608 for an amphibious diving suit autonomous. He designed it with one, two or three bottles of air compressed nickel-chromium steel (BRUNON-VALLETTE) or light alloy (GERZAT).





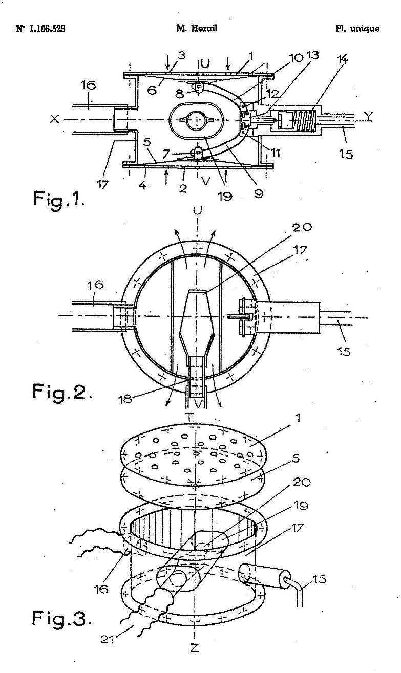
He has opted for a positioning of the taps at the bottom, the regulator in the extension of the bottle and protected by a metal fairing. The regulator was characterized by a single stage, but two membranes.
These two membranes are parallel to each other, but perpendicular to the diver’s back and placed at the same level as the exhalation valve. As a result, there is no no difference in hydrostatic pressure between the phase of inspiration and the expiration phase.

The internal mecanism of the regulator has two levers, one for each membrane. These two levers are among each other connected via a piston. The regulator has two corrugated hoses connected to a “T” mouthpiece. The exhalation valve is “duckbill” type. Finally, a security device allows a life jacket inflate to allow the diver to ascend, when the pressure in the bottle or bottles fall below a set limit value, which is previously adjusted, or by voluntary operation of the diver.
In early 1954, Georges started to produced the first diving equipment installing his workshop in Chemin de la Gare in Blagnac. The prototypes of these diving equipment were simply named “Autonomous diving equipment G.H. …” followed by an ascending number gradual according succesive improvements (for example G.H. 05 or G.H. 08). The letters G. H. obviously mean Georges Hérail, as G. C. 42 meant Georges Commeinhes 1942 and a few years later C.G. 45 of Cousteau / Gagnan 1945.




The major originality of the regulator designed by Georges Hérail lies in its two parallel membranes (one membrane acting in the opposite direction to the other) with an exhalation valve placed at halfway between these two membranes. We can get the flow continuous with a slight pressure in the center of the membrane.
In 17.08.1954, Georges filed a second patent of invention No. 1,106,529 concerning a regulator for a breathing apparatus “dispositif régulateur pour appareil respiratoire”. Actually, these were clarifications for the first filed patent.



In October 14, 1954, Georges filed a third patent number No. 1,1010,036 on a “Device for Breathing Apparatus allowing to Change the Air Distribution – “Dispositif destiné aux appareils respiratoires permettant de changer la distribution d’air”.
This is an improvement of its “T” mouthpiece by the addition of a snorkel, which is permanently attached on the previous system, and with a bypass, allowing the feeding of the mouthpiece by regulator or by snorkel. This device also prevented the ingress of water into the mouthpiece.


In March 2, 1955, he applied to the I.N.P.I. (Institut National de la Propriété Industrielle) the Brand “POUMONDEAU, le scaphandre autonome idéal pour les activités sous-marines” (Poumondeau, the ideal autonomous diving device for underwater activities”. In April 18, 1955 Georges reported the brand “Poumondeau”
also at the Commercial Court Toulouse under the Number 5.043.
In April 1955, the first advertising ad appeared in the fifth Issue of the magazine . Then, at the end of 1957, in the issues 10, 11 and 12 of
“L’Eau et la Vie Sous-Marine”, an editorial article explained the function of the diving device Poumondeau.
Could Georges Hérail ignore that Cousteau-Gagnan has been manufacturing the double hose regulators “AQUA-LUNG” in the United States by the North American company U.S. Divers, a subsidiary of the French company LA SPIROTECHNIQUE since half a dozen years ago?
In August 27, 1953 La Spirotechnique addressed a first registered mail to Georges Hérail, in which he was accused of patent infringement (Patent No.937.032 dated 8th July 1943, by Air Liquide and Jacques Yves Cousteau). The intention was, in a “friendly” way, to stop the George’s production. La Spirotechnique sent him another formal letter, in June 6, 1956, informing that the company had decided to decided to sue him.
Curiously, the complaint and the legal proceedings were initiated by Jacques-Yves COUSTEAU and not by LA SPIROTECHNIQUE.
The trial occurred in 31.03.1958 at “1ère Chambre civile du Tribunal de 1ère Instance de TOULOUSE”, and the successful party was Georges Hérail.







The Poumondeau models
All models are characterized by quality of manufacture particularly neat, in the spirit of the productions of the aviation industry. Bottles, fairings and parts external metal regulators have anodized surface treatments and a metallic blue color.
The POUMONDEAU DORSAL was offered as a single cylinder version or two cylinder version, backpack with downward taps. The cylinders are 8 liters or 12 liters at 200 bars. The regulator is attached to the harness on the chest.





The POUMONDEAU VENTRAL was a small double cylinders, taps at the top, worn ventral. The light alloy metal bottles are 2 liters or 3 liters at 178 bar.
The single stage regulator is controlled by a transparent flexible tubular membrane. It has only one corrugated hose.


The exhalation valve is still of “duckbill” type. It could be delivered with or without a clever double reading waterproof pressure gauge: a frontal gauge to be seen by a person facing the diver and a lateral gauge to be seen by the user.

The POUMONDEAU VENTRAL was conceived for medium depth dives (maximum – 25 meters).





The POUMONDEAU JUNIOR (from January 1958) was a dorsal double cylinders unit, with taps at the top and only one corrugated hose. That was the best selling Model.


On Thursday, 5.02.1959, Georges Hérail was asked to realize an inspection dive on the dam of an electric plant at SAINT-LIZIER (Ariège). He was equipped with a small bi-bottle POUMONDEAU VENTRAL.
Due to an accident during that dive, George disappeared. During three days, many rescuers from three diving clubs took turns during the salvage work. The Georges Hérail body never was found.
In 2008, the City Hall of SAINT-LIZIER made build a commemorative plaque at the place of his disappearance.

Reference
1. Georges Herail et les scaphandres autonomes Poumondeau – Philippe ROUSSEAU et Jacques CHABBERT
2. http://frogmanmuseum.free.fr/html/regulatorspoumondeauen.htm
3. http://www.seveke.de/tauchen/technik/2komp-poumondeau.htm
4. http://www.divescrap.com/DiveScrap_INDEX/Poumondeau.html

