Commeinhes
Georges Commeinhes was born on November 9, 1911, Paris and died during the liberation of Strasbourg on the 23rd of November 1944.
Rene Commeinhes, Georges’ father, founded an automotive production and bodywork company, mainly manufacturing trucks and coaches, and the first fire engines.
The breathing apparatuses in use in the French army in the 1930s were reserved for personnel specifically trained to use them. The need for an easy-to-use device that can be used by untrained personnel was filled by the Mandet-Commeinhes device adopted in 1939, known as MC 39.





This equipment is an open circuit breathing apparatus, ie without recirculation of exhaled air. It is equipped with two 200-bar compressed air cylinders that feed an air bag through an automatic valve system that opens when the air bag is almost empty.
This assembly replaces the regulator and ensures the permanent availability of air under a low positive pressure for the user. The inflatable bag is connected to the mask by a flexible hose terminated by a nozzle allowing its direct connection to the gas mask, the air sucked by the user comes directly from the inflatable bag, the exhaled air being simply rejected by the mask expiration valve.
The amount of air available is indicated by a manometer mounted on a flexible conduit giving the user the residual pressure of compressed air in the bottle. An automatic whistle reaches the user when the bottle in use is almost empty.
Georges became interested in underwater hunting. Before the World War II, he met Yves Le Prieur and JacquesYves Cousteau in many occasions.
In September 9, 1935, Rene Commeinhes registered a patent for an autonomous self-contained breathing apparatus, which was to be marketed to the fire brigade.



It was a portable set with two metal cylinder compressed air at 150 bar. The cylinders were interchangeable, and the unit worked on an open circuit with a mask that was equipped with an exhaust valve. The two cylinders were fastened vertically in a light alloy square support, with the cylinder valves at the bottom.
They were connected to a regulator with a quick connection non-return valve. The bottles were joined to the breathing bag, which was bound to the mask by a hose. An articulated palette followed the inflating and deflating, of the breathing bag. As the breathing bag deflated the palette activated the regulator by means of a rod, and provided air according to user demand.
It was named R.C. 35, for name Rene Commeinhes and the year 1935.




In 1937, Georges Commeinhes modified the R.C. 35 breathing apparatus that his father had invented. Georges’ idea was to adapt it into an amphibious diving apparatus. Georges equipped it with a face-mask very similar to that of Commandant Yves Le Prieur’s diving apparatus.
He has tested the amphibious unit in the swimming pool at Pontoise Road, Paris. The same pool where the Commander Yves Le Prieur and Jean Painleve
founded the Club des Scaphandriers et de Ia Vie Sous l’Eau (The Diving Club of Life Underwater).
The prototype of Georges’ first diving apparatus has worked with an open demand circuit, and was named “R.C.35 Amphibious.”
In 1939 when war was declared, Georges was drafted to the 507th Tank Regiment, lead by Colonel Charles de Gaulle. This regiment stopped the progress of
the German Panzer tanks near the village Montcorne in l’Aisne region at the end of May 1940.


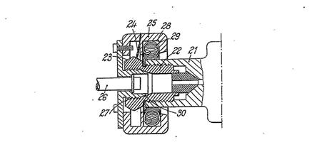
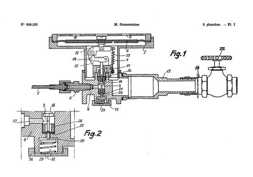
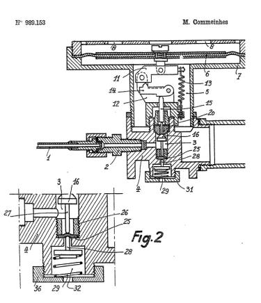
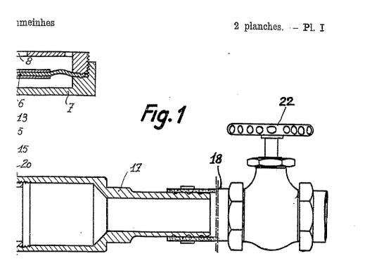
In 29th of April, 1942, Georges Commeinhes filled another patent for his new self-contained autonomous diving breathing apparatus. The name of the equipment was “G.C. – 42,” for Georges Commeinhes, year1942, and was granted the patent number 976,590.


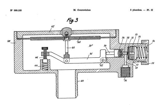
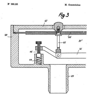
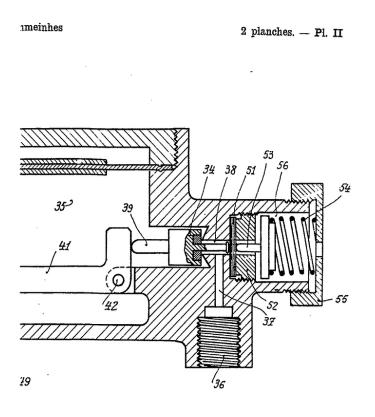
The regulator used a metal demand membrane. A soft-ringed supply pipe sent regulated air at an ambient hydrostatic pressure into theface mask. A valve installed next to the membrane on top of the regulator controlled the flow of the air.
There are two cylinderss strapped to the back which two valves at the bottom. The steel cylinders had either a 4 or 5 liter capacity each. The apparatus was equipped with a pressure gauge, indicating cylinder pressure and a warning whistle in the servicing cylinder.




In July 30, 1943, Georges Commeinhes did a dive with his G.C. 42 in the bay of Marseille, and completed a dive to a depth of 53 meters.




A report about that dive was written showing where Georges’ dive took place, and it was signed by the military observers who had witnessed it.
In October 1943, just to prove that the Cousteau-Gagnan equipment was as good if not better than Commeinhes’s equipment, Frederic Dumas dove with a C.G. 43 unit to a depth of 62 meters, thus beating Georges Commeinhes’s record.
In February 7, 1944, Georges Commeinhes filled a second patent for an “Automatic compensation regulator for compressed gas”.
That is, before the production of Spirotechnique’s Cousteau-Gagnan regulator in 1945 (CG-45), Georges Commeinhes had already registed the compensation
(balanced) regulator.
But Georges enlisted in Leclerc’s army. As a chief sergeant, Georges Commeinhes was immediately assigned as tank chief for the Austerlitz. At the end of August 1944, the tanks and the crews of the 2nd Armored Division were stationed in the Boulogne woods (Bois de Boulogne, just outside Paris).
In September 8, 1944, the tanks left Paris traveling down the Champs-Elysees. In November 23, the tanks moved forward to Strasbourg, but an anti tank pit stopped them. Shots came from the Fort and noise of the bullets on the armor plating was resonating inside the tank. There followed a dull bang, and Commeinhes was injured on his seat.
Commeinhes was taken to the 11th American Hospital, situated in Bayon (Muerthe and Moselle), where Doctor Richard L. Flescher of the U.S. Army could only record the death of Georges Commeinhes. He was buried temporarily in Bayon, until his body was transferred to Carre du Souvenir Français, in the St. Maur cemetery.







After Georges died, the Commeinhes company has continued on manufacturing his self-contained autonomous diving apparatus.
The GERS (Underwater Research Group), created by French Navy, under the command of Captain Philippe Tailliez, in Toulon, carried out several tests and evaluations of diving equipment. In June 20, 1947, they produced a technical test report (edited by Philippe Tailliez), involving dives by Frederic Dumas with the G.C.-42 apparatus, which had taken place days before. The report stated that the G.C. 42’s competitor, the regulator form Cousteau-Gagnan was better.
In 1947, the Commeinhes company manufactured a new autonomous diving apparatus, named G.C.- 47. Several authorities from Paris were equipped with these units.




After some time, Commeinhes company stopped the production of diving apparatus to concentrate more exclusively on breathing apparatus and rescue equipment for the fire brigade. The Commeinhes company was dissolved in 1983.


Reference
- Georges Commeinhes: A Very Discreet Pioneer – By Commandant Philippe Rousseau – HISTORICAL DIVER Volume 13, Issue 3, Number 44
- https://le-scaphandrier.blog4ever.com/georges-commeinhes-et-son-scaphandre-autonome
- http://frogmanmuseum.free.fr/html/regulatorscommeinhesen.htm
- http://www.stranypotapecske.cz/teorie/commeinhes-amphibie.asp?str=201010272219500
- Historical Diving Times – No 19 Summer 1997
- http://www.gastoneve.org.uk/company.html
- http://www.divescrap.com/DiveScrap_INDEX/Commeinhes.html
- Jacques Chabbert
- http://wikimaginot.eu/glossaire_detail.php?id=1000299

