Medi MLW
The German Democratic Republic – GDR – was founded in 1949 in the Soviet occupation zone of WW 2 looser Germany. Diving equipment was then manufactured in Leipzig under the “VEB Medizintechnik Leipzig” company brand name MEDI or later MLW.
The dominant manufacturer of diving equipment in Germany before the Second World War had been Dräger in Luebeck. After the division into the Federal Republic of Germany (FRG) – West German, which was also formed in 1949 from the zones of western allied forces, and the German Democratic Republic (GDR) – East German, there were two different countries existing.
Diving equipment was not offered/manufactured in other countriesof the socialist block, at leastnot in sufficient quantity. So they had to start up in the GDR by themselves from the very beginning, first, of course for the military and professional needs.
Precision engineering and medical technology production had existed in Leipzig before. In 1948 several companies were merged by the government to unify as “VEB Medical Technology Leipzig” (VEB = Peoples own Company). A major company of them was “Nitzsche AG”. This company was founded in 1903 by Johannes Nitzsche (1879-1947) in Leipzig who had manufactured cinematographs and films. In 1938 Anschütz GmbH from Kiel bought the company.

After the war ended in 1945 the company went into compulsory administration forced by the Soviet Military Administration (SMA), because they had made war-related equipment such as compasses. So these were more or less the traditions of making diving equipment in the GDR, more precisely in Leipzig. So these were more or less the traditions of making diving equipment in the GDR, more precisely in Leipzig.

- In 1952, the VEB of the Central Medical Precision optics has been assigned and the logo used until 1969 MEDI.
- 1952 – 1958 Head Office Precision Optics,
- 1958 – 1967 VVB mechanics,
- 1967 – 1969 VVB medical, laboratory and weighing technology (VVB = Association SOEs)

In 1970 the VEB Medical, Laboratory and Weighing was formed, the logo changed to MLW by1989.

The MEDI diving gear production began in 1954 starting with the MEDI Nixe “Mermaid”, a simple O2 rebreather. The initialization came from the almighty SMAD that awaited of a country with submarine escape experience (Dräger U- Boot Rescue) that they could also build O2 rebreathers. By now MEDI had developped and produced rescue rebreathers for mining and chemical industry too and the designing engineers could use these experiences. The Mermaid was produced until 1959.

This was followed by the first SCUBA gear with a double hose regulator which was made in 1959: the MEDI 713.
It was exported in small pieces to other CMEA countries (Council for Mutual Economic Assistance) too, such as former Czechoslovakia. MEDI produced it till 1965. With its two 3-l-tanks (150 bar, but 200 bar later on) it was intended for short time dives till 20 m depth maximum. The MEDI 713 was a very hard breather but good to handle.


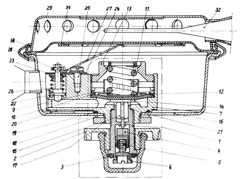
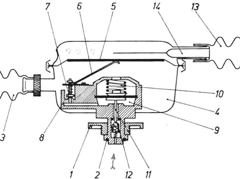
The SCUBA lite MEDI 713 was followed 1965 by the best product of MEDI, the modular (1- to 3- cylinders) SCUBA rig “Hydromat PTG” (Pressluft- Tauchgeraet = compressed air diving apparatus), first with a two-stage double hose regulator “Hydromat 62004 G01” and from 1970 onwards additionally with the single hose regulator “Hydromat 66” (62017).


MEDI produced this family till 1974 with some light changes. Additionally MEDI/MLW produced cylinder valves, full face masks, the “Penguin” dry suit and other gear for professional diving.


MEDI and MLW later ran the structural development of diving technology always on fairly low heat. The administration would have preferred an entire stop because diving gear could not be exported to other countries at least for foreign exchange. MLW was much better off with medical and respiratory equipment. The production of diving gear was ceased in 1974 . Only the RG-UF/M as a LVO task (national defense organization) was continued till 1989.
The lack of development capacity, the uncertainty due to lack of tradition and lack of modern materials and technologies resulted to not so innovative products relating to the world market. MLW therefore served only for captive consumption in the GDR.
But even that was an illusion. Between the military and professional on one side and private use on the other, there was the GST (Society for Sport and Technology, training organizations, etc. for diving) and the diving clubs of major industrial companies, the” centers of the working class”, and their institutions. Even they suffered a permanent lack of equipment for training. Courses held at the sea sport schools were dependant to the availability of equipment.
The replacement of MEDI713 by the more modern Hydromat series took many years.

For the private use of sport divers in the GDR was hardly anything left of this production. Other manufacturers for diving equipment were
not available and they were impossible to obtain in the other socialist countries as well.
In addition to economic constraints but also resulted from the exaggerated distrust of government, which they also had for gliders, hang-gliders and ocean sailing boats. Such devices could be used for escaping to the west. What remained, was the private competition for MLW by “do it yourself” diving gear in fairly large scale. That was propagated itself in the diving newspaper GDR, POSEIDON, long time, was normal. The entire range was “manufactured”, double hose, single hose regulators, suits, fins, cameras, cine cameras, compressors, scooters, navigation devices, etc.
In 1974, therefore, the production of the Hydromat family was discontinued rather abruptly
After the changes in 1990, the combinate MLW was shattered by the “Treuhand” (Org. for handling the state-owned industry of the ended German Democratic Republic). The rest of the diving technology disappeared completely in the scrap presses.
These are the different versions of the Hydromat in different chromes:




















